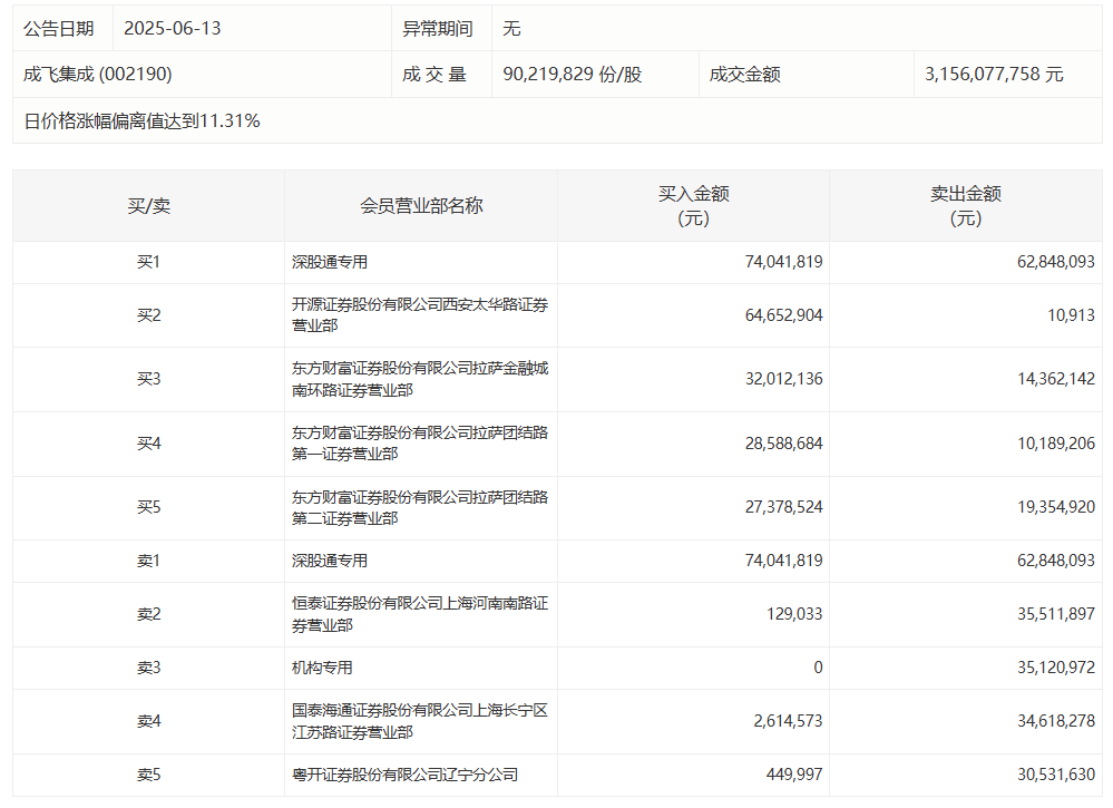
成飞集成今日涨停,成交额31.56亿元,换手率25.15%。盘后龙虎榜数据显示悦配资,深股通专用席位买入7404.18万元并卖出6284.81万元,一机构专用席位净卖出3512.10万元。

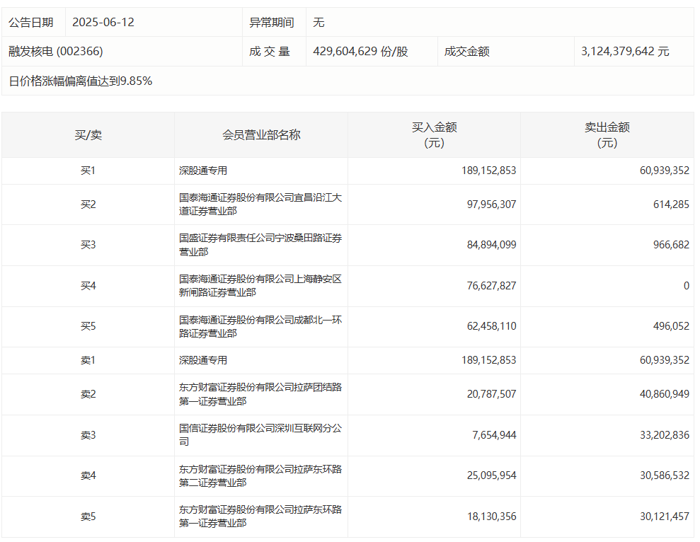
融发核电今日涨停 深股通专用席位买入1.89亿元并卖出6093.94万元悦配资融发核电今日涨停 深股通专用席位买入1.89亿元并卖出6093.94万元
21 昨天 16:29
常山药业今日涨停 深股通专用席位买入2.57亿元并卖出1.52亿元常山药业今日涨停 深股通专用席位买入2.57亿元并卖出1.52亿元
0 06-09 16:44
中科金财今日涨停 深股通专用席位买入1.59亿元并卖出1.38亿元中科金财今日涨停 深股通专用席位买入1.59亿元并卖出1.38亿元
0 06-04 16:37
中旗新材今日涨停 机构资金博弈激烈中旗新材今日涨停 机构资金博弈激烈
0 05-30 16:31
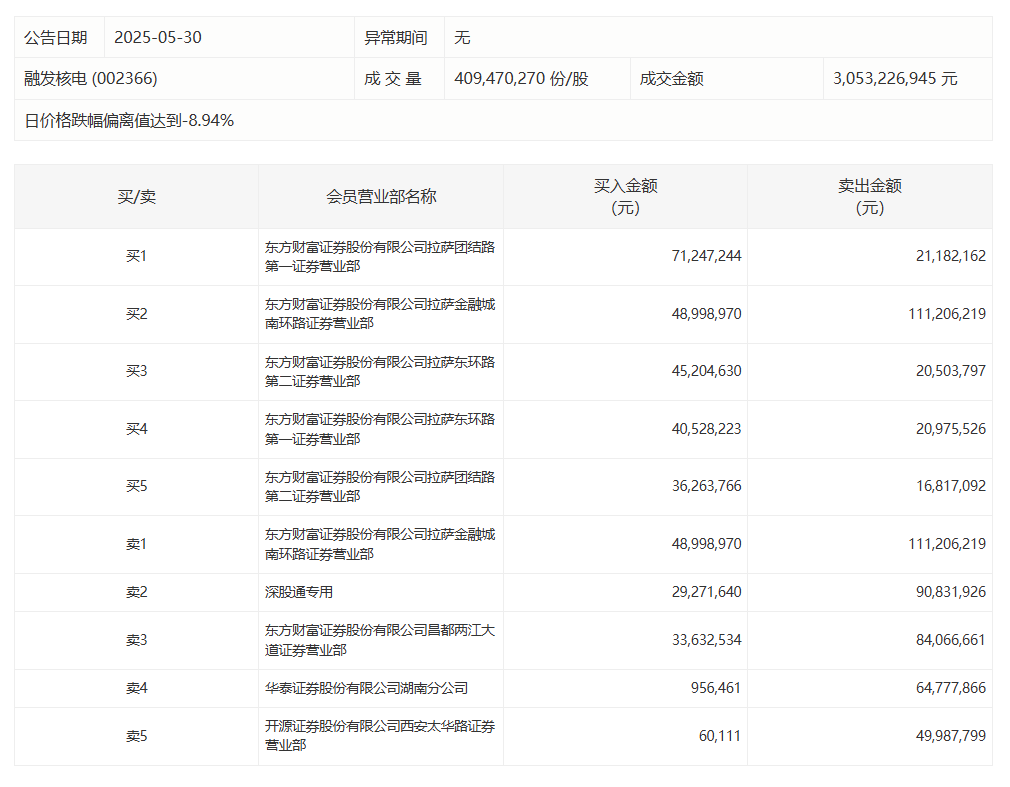
融发核电今日跌停 深股通专用席位买入2927.16万元并卖出9083.19万元悦配资融发核电今日跌停 深股通专用席位买入2927.16万元并卖出9083.19万元
0 05-30 16:29 一财最热 点击关闭升富配资提示:文章来自网络,不代表本站观点。